Деревообрабатывающий торцовочный станок ЦМЭ-ЗА
Станок торцовочный шарнирно-маятниковый ЦМЭ-ЗА имеет станину с вмонтированной в нее колонкой (9), которая переставляется по высоте маховичком и крепится рукояткой (8). Сверху колонки установлены рычаги, к одному из которых прикреплен электродвигатель (6) с пилой на его валу. Электродвигатель обеспечен электродинамическим торможением при его выключении. Пила ограждена защитным кожухом. Рычаги соединены между собой шарнирно и могут поворачиваться, а пила совершает прямолинейное движение, параллельное столу. Пила подается нажимом на педаль (1) с помощью пневмоцилиндра, который шарнирно прикреплен к колонке. Подачу пилы можно производить и вручную рукояткой. Положение распиливаемого материала обеспечивается роликовым столом (3) направляющей линейкой и торцовыми откидными упорами.
Станок ЦМЭ-ЗА имеет следующие технические данные: наибольшую ширину распиливаемого материала 400 мм при толщине до 100 мм, скорость подачи суппорта пилы до 25 м/н, число двойных ходов суппорта до 45 мин, диаметр пилы 500 мм и частоту ее вращения 3000 мин1, мощность электродигателя 4 кВт.
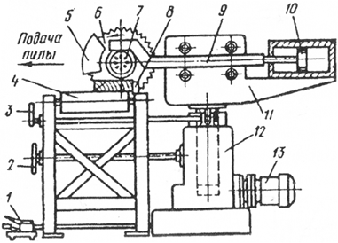
Станок торцовочный с прямолинейным перемещением суппорта ЦПА-40 состоит из станины с колонй (11). В верхней части колонки установлен суппорт (9) с илой (6). Колонка переставляется по высоте, маховичком крепится рукояткой (3). Пильный суппорт подается гидроцилиндром (10) с электродвигателем (13) при нажатии на педаль (1). К суппорту прикреплен электродвигатель, на валу горого установлена пила (6), имеющая защитное ограждение (5). Для распиливаемого материала предусмотрен стол (4) с роликами, направляющая линейка (8) и торцовые откидные и утапливаемые упоры. На станке можно распиливать материалы шириной до 400 мм и толщиной до 100 мм при скорости подачи суппорта пилы до 33 м/мин и числе его двойных ходов до 30 об/мин. Диаметр пилы 450 мм, а частота вращения 3000 об/мин. Мощность электродвигателя 6,2 кВт.
При малых объемах работы для поперечного и продольного раскроя и распиливания под углом досок, брусков, фанеры и древесных плит применяют универсальный круглопильный станок Ц6-2. На станине (1) закреплен стол размером 830 х 1200 м, на передней части которого установлена направляющая линейка (14), обеспечивающая направление подачи материала при его продольном распиливании. На столе имеется съемный угольник (7), который можно перемещать в Т-образном пазу в столе параллельно плоскости пилы при распиливании материала под углом от 45° до 135°.
Пила (10) крепится на валу электродвигателя, который установлен внутри станины. Подъем и опускание пилы производится маховичком (18). К столу станка прикрепляется ограждение пилы с противовыбрасывателем. Сзади в плоскости диска пилы размещен расклинивающий нож. Для торцовки заготовок и обрезки кромок щитов и рамок предусмотрена каретка (2) со столом (5). Каретка установлена на роликах, может перемещаться вдоль станка (ход каретки 1000 мм) по направляющей (6) параллельно плоскости пилы и имеет прижим для закрепления материала. Станок Ц6-2 имеет такие технические данные: наибольшая толщина распиливаемого материала 130 мм при ширине до 400 мм, наибольшее перемещение пилы по высоте 100 мм, диаметр пилы 320-500 мм, частота вращения 2900 об/ мин, мощность электродвигателя 4 кВт.
![]() |
![]() |
Торцовочный шарнирно-маятниковый станок ЦМЭ-ЗА: I — педаль; 2 — направляющая линейка; 3 — стол; 4 — рукоятка перемещении пилы вручную; 5 — пила; б — электродвигатель; 7 — рычаги; 8 — рукоятка зажима; 9 — колонка; 10 — маховичок подъема колонки; 11 — станина |
Торцовочный станок с прямолинейным перемещением пильного суппорта ЦПА-40:, / — педаль; 2 — маховичок подъема колонки; 3 — рукоятка зажима колонок; 4 — стол с роликами; 5 — ограждение; 6 — пила; 7 — электродвигатель; 8 — направляющая линейка; 9 — суппорт; 10 — гидроцилиндр; 11 — юлонка; 12 — станина; 13 — электродвигатель гидропривода подачи |
Концеравнительные станки (Ц2К12-1, Ц2К20-1, Ц2К12Ф-1, Ц2К20Ф-1) используют для чистовой торцовки одновременно двух концов заготовок. Станки имеют механическую подачу заготовок при поперечном их перемещении со скоростью подачи 5-16 м/мин. Каждый из станков Ц2К12Ф-1 и Ц2К20Ф-1, помимо двух пил, дополнительно оснащен двумя фрезерными головками, на которых можно выполнять форматную обработки щитов в размер по длине и шине с одновременным фрезерованием их кромок. Обработку кромок щитов, рамок и коробок можно производить на двухпильном форматно-обрезном станке ЦФ-3. Для раскроя на заготовки древесных плит и фанеры применяют круглопильные многопильные станки: ЦТЗФ-1 (трехпильный), ЦТ4Ф (четырехпильный) и ЦТМФ (одиннадцатипильный с программным управлением).
Для продольного распиливания досок или их отрезков на заготовки нужной ширины или толщины используют кругло-пильные прирезные станки с механической подачей: вальцово-дисковый — ЦА2А (однопильный) и с конвейерной — ПДК4-1 (однопильный), ЦДК5-2 (пятипильный) и ЦМР-3 (десятипильный), которые обеспечивают проходную обработку.
Станок однопильный прирезной с конвейерной подачей ЦДК5-3 ДК-200 состоит из следующих узлов: стол, прижимной суппорт в виде коробки, в которой размещены подпружинные ролики, обеспечивающие прижим заготовки спереди и сзади пилы. Механизм подачи выполнен в виде конвейера из чугунных звеньев, шарнирно соединенных роликовтулочной целью. Эта цепь находится в зацеплении с задней ведущей звездочкой, которая приводится во вращение вариатором от электродвигателя.
Для предотвращения выброса распиливаемого материала из станка установлен расклинивающий нож, а на передней части станка имеются упоры противовыбрасывателя. Пильный суппорт станка состоит из электродвигателя, вал которого через муфту соединен со шпинделем, на котором закрепляется пила. Станок ЦДК4-3 ДК-200 имеет технические данные: наибольшая ширина обрабатываемых материалов 315 мм при толщине до 100 мм, а наименьшая длина 600 мм, скорость подачи 8-40 м/мин, диаметр пилы 250-400 мм, частота вращения 3000 об/мин, мощность электродвигателя 13 кВт.
Многопильные прирезные станки ЦДК5-2, ЦМР-3 отличаются от однопильных наличием блока пил, установленных на одном валу. Расстояние между пилами определяет ширину выпиливаемых заготовок и достигается на валу промежуточных шайб между пилами. Пильный вал станков приводится во вращение от электродвигателя через клиноременную передачу, регулирование привода подачи бесступенчатое.
В круглопильных станках используют круглые плоские пилы с разведенными зубьями диаметром 250-500 мм и толщиной диска 2-2,8 мм. Число зубьев пил составляет от 36 до 72, а величина развода на одну сторону может быть 0,3-0,6 мм. Зубья пил для поперечного пиления древесины имеют косую заточку, для продольного пиления — прямую заточку. Применяют мелкозубые строгальные пилы для получения гладкой поверхности древесины или пилы, зубья которых оснащены пластинками из твердого сплава, для раскроя досок из твердой древесины, фанеры, декоративных пластиков, древесных и других плит.
Перед установкой пилы на вал станка ее необходимо проверить. Диск пилы должен быть плоским и не иметь трещин. Зубья пилы должны быть правильно разведены и хорошо заточены. Заточку пил и других режущих инструментов станков производят высококвалифицированные слесари-наладчики на специальных заточных станках с использованием электроко-рундовых шлифовальных кругов. Пилы, оснащенные твердым сплавом, затачивают на алмазных точильных кругах.

