Рейсмусовые станки односторонние и двусторонние
Рейсмусовые станки односторонние (СРЗ-7, СР6-9, СР8-2, СР12-3) и двусторонние (С2Р8-4, С2Р12-3) служат для обработки досковых, брусковых и щитовых заготовок, рамочных изделий на заданную толщину. Станки обеспечивают проходную обработку при механической подаче обрабатываемых заготовок и изделий.
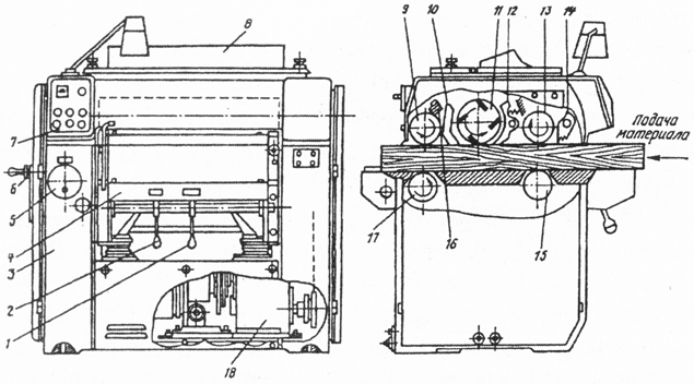
Станок рейсмусовый односторонний СР6-9 имеет цельнолитую станину (3), на ней расположены ножевой вал (11) и стол (4). Когтевая защита (14) предотвращает выброс обрабатываемых заготовок из станка. Механизм подачи включает передний рифленый приводной валец (13), установленный впереди ножевого вала (11). Подачи фрезерованной заготовки при выходе ее из станка обеспечивают задний верхний гладкий валец (9) и нижней валец (17), расположенный на столе (4). Привод вальцов осуществляется через механический вариатор и коробку передач (18). Перед ножевым валом установлен передний прижим (10).
Привод ножевого вала производится отдельным электродвигателем через клименную передачу. Опорный ролик (15) служит для уменьшения сил трения заготовки о стол станка. Ролик можно регулировать по высоте относительно рабочей поверхности стола рукояткой (1) и фиксировать его в нужном положении стопором (2). Передний подающий рифленый валец изготовляют секционным, что позволяет обрабатывать на станке одновременно (параллельно) несколько досковых или брусковых заготовок с разным припуском на обработку.
![]() |
Односторонний рейсмусовый станок СР6-9: 1 — рукоятка регулирования положения опорного ролика; 2 — фиксатор (стопор) ролика; 3 — станина; 4 — стол; 5 — маховичок регулирования скорости подачи; 6 — маховичок настройки стола по высоте; 7 — пульт управления станком; 8 — ограждение со стружкоприемником; 9 — задний валец; 10 — задний прижим; 11 — ножевой вал; 12 — передний прижим; 13 — передний подающий рифленый валец; 14 — когтевая защита; 15 — опорный ролик; 16 — опорная балка фуговально-заточного приспособления; 17— задний нижний подающий валец; 18 — коробка передач |
Технические данные станка СР6-9: наибольшая ширина обрабатываемого материала 630 мм и толщина до 200 мм, наименьшая длина 400 мм и толщина 5 мм, скорость подачи 8-24 м/мин, диаметр ножевого вала 128 мм, частота вращения ножевого вала 5000 об/мин, мощность электродвигателя 9 кВт.
Двусторонние рейсмусовые станки имеют верхний ножевой и нижний и выполняют обработку щитовых заготовок и рамок одновременно по двум противоположным плоским поверхностям. Точность обработки на станках в 1,5-2 раза ниже, чем не односторонних, так как первое фрезерование заготовки, осуществляется при черновом ее базировании. Станки для обработки досковых и брусковых заготовок не применяются.
![]() |
Схема устройства рейсмусового станка: 1 — стол; 2 — обрабатываемая заготовка; 3 — предохранительное устройство; 4 — верхний рифленый подающий валик; 5 — передняя прижимная колодка (стружколоматель); б — ножевой вал; 7 — задняя прижимная колодка; 8 — верхний гладкий подающий валик; 9 — нижний гладкий валик |
Конструкций ножей и ножевых валов рейсмусовых станков, правила заточки и установки такие же, как и для фуговальных станков.
Настройка станка на толщину обрабатываемых заготовок или изделий производится перемещением стола (вверх-вниз) вручную маховичком либо нажатием кнопки «Верх» или «Вниз». Станок снабжен отсчетными устройствами: измерительной линейкой (на станине) с ценой деления 1 мм и лимбом на маховичке ручного перемещения стола с ценой деления 0,1 мм.
Нижние опорные вальцы должны выступать над столом при обработке древесины мягких пород на 0,2-0,3 мм, а твердых пород — на 0,1-0,2 мм. Проверяют настройку станка путем обработки пробных заготовок и определением точности их обработки. За один проход заготовки через станок снимают слой древесины толщиной 2-3 мм.

