Пропитка в ваннах с предварительным нагревом
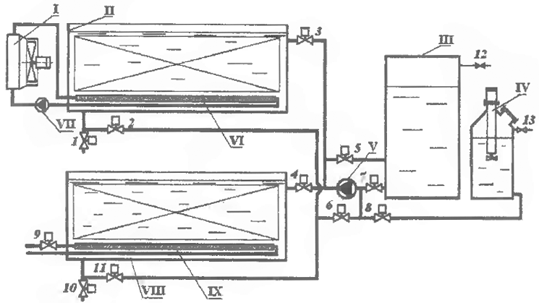
Пропитка в ваннах с предварительным нагревом, имеется несколько технологических вариантов. Наиболее популярен вариант с использованием горячей и холодной ванны (рис.5). Пакет пропитываемых сортиментов заранее нагревают в ванне VIII с горячей пропитывающей жидкостью, после чего перегружают в ванну II с холодной пропитывающей жидкостью, при выдержке в которой и происходит собственно пропитка. Установка снабжена резервуаром III для оперативного хранения раствора антисептика, механической мешалкой IV для приготовления раствора, насосом V для его перекачки. Нагревание раствора в горячей ванне осуществляется теплообменником IX, теплоносителем в котором служит водяной пар или горячая вода. Древесина с раствором в холодной ванне охлаждается водой, проходящей через теплообменник - охладитель VI. Охлаждение воды производится окружающим воздухом в поверхностном теплообменнике I, являющимся градирней закрытого типа.
![]() |
Рис. 6. Схема двухванной пропиточной установки: I - поверхностный теплообменник, П - ванна с холодным раствором антисептика, III - резервуар хранения раствора антисептика, IV - механическая мешалка для приготовления растворов, V, VII - насосы, VI - теплообменник - охладитель, VIII - ванна с горячим раствором, IX -теплообменник - нагреватель; 1... 11 - управляемые вентили; 12,13 - ручные вентили |
Ванны с резервуаром и мешалкой соединены трубопроводами, на которых установлены дистанционно управляемые вентили. Установки малой производительности имеют, как правило, вентили с ручным управлением.
Заполнение ванн из резервуара осуществляется насосом V. При этом вентили 7, а также вентили 3 или 4 открыты (остальные вентили закрыты). Подача подготовленного в мешалке IV раствора в резервуар производится тем же насосом при открытых вентилях 8 и 5. Переливание раствора из ванн в оперативный резервуар осуществляется насосом при открытых вентилях 2 (или 11), 6, 5.
Вариант с использованием одной (горячей - холодной) ванны применяется реже. После разогрева загруженного в ванну пакета горячую жидкость в ней быстро заменяют холодной путем перекачки насосами. Качество пропитки будет немного выше, чем в 1 варианте, что время перегрузки, при которой в открытые полости клеток частично попадает воздух, замедляющий движение жидкости в древесине.
Представляет определенный интерес вариант с совмещением нагревания и камерной сушки. Штабель пиломатериалов или заготовок сразу после сушки в камере до требуемой для пропитки влажности (25...30%) помещают в ванну с холодным пропитывающим раствором. После выдержки в ванне штабель вновь загружают в камеру и сушат до конечной (эксплуатационной) влажности. Этот вариант был успешно применен на одном из предприятий Вологодской области.
Существуют и другие варианты рассматриваемого способа пропитки: нагревание и медленное охлаждение древесины в одной ванне без перекачки жидкости; пропитка в холодной ванне с предварительным диэлектрическим нагреванием древесины или нагреванием ее насыщенным паром в пропарочной камере.
Пропитку древесины хромосодержащими препаратами допускается проводить либо по варианту с сушильной камерой либо путем прогрева древесины насыщенным паром.
Температура пропитывающей жидкости в горячей ванне должна быть: при применении водорастворимых защитных средств - 90...95 °С, для масел и антисептиков в органических растворителях - 95...110 °С. Температура в холодной ванне-20...40 °С и 40...50 °С соответственно.
Согласно ГОСТ 20022.6-93 продолжительность выдержки, как в горячей, так и холодной ванне должна быть не менее 45 мин при применении водорастворимых защитных средств и не менее 30 мин для масел и органикорастворимых антисептиков. Достаточно точно продолжительность нагревания и охлаждения может быть установлена расчетами по уравнениям теплопроводности в зависимости от характеристики обрабатываемых сортиментов, параметров пропиточной жидкости.
Все рассмотренные выше способы пропитки по некоторым причинам имеют небольшое применение в промышленности. Диффузионная пропитка очень продолжительна по времени и требует высоких затрат ручного труда. Такая пропитка древесины, возможна при использовании только неорганических водорастворимых пропитывающих веществ. Капиллярные способы пропитки низкоэффективны, поскольку происходит лишь поверхностная пропитка. Способ горячих и холодных ванн эффективнее капиллярных способов и применялся в прошлом довольно широко. Такой способ из-за малого избыточного давления не обеспечивает достаточно глубокой, а тем более сквозной пропитки, необходимой в ряде случаев для надежного консервирования и других технологических целей.
Поэтому на сегодняшний день применение имеют автоклавные способы пропитки, обеспечивающие глубокое проникновение в древесину пропитывающих веществ при малой продолжительности процесса и относительно невысоких затратах труда и энергии.
