Оборудование автоклавных пропиточных установок
Автоклавные пропиточные установки представляют собой сравнительно сложные устройства, состоящие из ряда агрегатов и узлов. Их обычно проектируют для того или иного конкретного способа пропитки и определенного вида пропитывающих жидкостей (масел, водных растворов и др.); они могут быть стационарными или передвижными. Оборудование автоклавных установок может быть разделено на резервуарное, пневмогидравлическое, тепловое, контрольно-регулирующее и вспомогательное.
Резервуарное оборудование. К основному оборудованию этой группы относятся пропиточные автоклавы, маневровые автоклавы, мерники, баки-смесители, резервуары для хранения жидкостей.
Пропиточный автоклав (рис. 1) изготавливают в виде цилиндрического стального резервуара, рассчитанного на рабочее давление до 1,2 МПа. Он имеет два полусферических днища, одно из которых глухое, а другое, представляет собой съемную крышку. Крышки автоклавов современных конструкций снабжены клиновыми герметичными запорными устройствами с гидравлическим или электрическим приводом.
Автоклавы устанавливают горизонтально или с небольшим уклоном в сторону сливного трубопровода. Размеры их зависят от заданной производительности установки и размеров пропитываемых материалов. На отечественных шпало- и мачтопропиточных заводах чаще всего используют автоклавы диаметром 2,0 и длиной 24,0...27,0 м, которая приблизительно пропорциональна длине шпал (2,75 м) и столбов (8... 12 м). Новые установки большой производительности оборудуют автоклавами диаметром 2,6 и длиной до 29,0 м. Установки для пропитки мелких сортиментов (например, строительных деталей) имеют автоклавы диаметром 1 1,5, длиной 6...12 м.
![]() |
Рис. 1. Общий вид автоклава с открытой крышкой |
Автоклавы оборудуют предохранительными клапанами и штуцерами для присоединения трубопроводов, а также датчиков уровня жидкости, температуры и давления. Снаружи их покрывают теплоизоляцией. В нижней их части (рис. 6.15) прокладывают рельсовую колею 4 для закатки вагонеток 2. Под рельсами и между ними монтируют гладкотрубные паровые калориферы 3, предназначенные для поддержания заданной температуры пропитывающей жидкости.
![]() |
Рис. 2. Схема загрузки автоклава пиломатериалами (а), шпалами (б), деталями опор ЛЭП (в): 1 - автоклав, 2 - вагонетки, 3 - калориферы, 4 - рельсовый путь |
Изготовление пропиточных автоклавов машиностроительные заводы осуществляют по индивидуальным заказам. В некоторых случаях для пропитки можно использовать автоклавы, выпускаемые серийно для других отраслей промышленности, например, для производства цемента.
Маневровый автоклав предназначен для межоперационного хранения пропитывающей жидкости и ее предварительного нагрева до температуры, заданной режимом. Его обычно устанавливают над пропиточным автоклавом и оборудуют гладкотрубными паровыми калориферами повышенной мощности, люками для осмотра и чистки, штуцерами для присоединения трубопроводов и датчиков.
Маневровые автоклавы могут работать или при повышенном давлении (пропитка маслами по технологическим схемам ДДВ и ДВ), или только при атмосферном давлении (пропитка водными растворами по схемам ВДВ, ДВ н ВАДВ). В первом случае их делают конструктивно аналогичными пропиточным автоклавам (но без съемных крышек). Во втором случае для их изготовления можно использовать цилиндрические резервуары, серийно выпускаемые заводами химического машиностроения и рассчитанные на давление до 0,17 МПа. Иногда вместо маневровых автоклавов применяют открытые баки, устанавливаемые под пропиточными автоклавами.
Вместимость маневрового автоклава или бака должна быть достаточной для заполнения жидкостью загруженного пропиточного автоклава, включая жидкость, поглощаемую древесиной при пропитке.
Мерник служит для контроля поглощения древесиной жидкости в процессе пропитки. Он представляет собой стальной цилиндрический герметичный резервуар, установленный, как правило, вертикально и снабженный устройством для дистанционного измерения уровня жидкости. Мерники вместимостью 10, 16 и 25 м для крупных пропиточных установок изготовляют заводы нефтяного машиностроения по отраслевым нормам на рабочее давление 0,6; 0,8; 1,6 МПа.
Бак-смеситель предназначен для подготовки пропитывающих растворов. Смесители, имеющие обычно цилиндрическую форму, рассчитывают на рабочее давление не более 0,1 МПа. Их оборудуют паровыми гладкотрубными калориферами и воздушными или механическими мешалками.
Резервуары-хранилища предназначены для хранения запасов пропитывающих масел. Число и вместимость хранилищ зависит от производительности пропиточной установки. Их оборудуют устройствами для нагрева и учета расхода жидкостей.
Пневмогидравлическое оборудование. Основные агрегаты этого оборудования — вакуум-насосы, жидкостные насосы, воздушные компрессоры и аккумуляторы сжатого воздуха. К оборудованию этой группы можно отнести также системы трубопроводов с монтажной и запорной арматурой.
Вакуум-насос создает пониженное давление (вакуум), которое необходимо:
- в пропиточном автоклаве в начале и конце процесса пропитки,
- в маневровом автоклаве и других резервуарах для засасывания в них жидкостей,
- в пропиточном и маневровом автоклавах для удаления паров воды при сушке древесины в пропитывающей жидкости под вакуумом.
В пропиточных установках большой производительности используют преимущественно ротационные водокольцевые вакуум-насосы РМК-3, РМК-4 и улучшенной конструкции ВВН-12. Глубина вакуума, создаваемого этими насосами, доходит до 0,09 МПа. На установках малой производительности устанавливают вакуум-насосы ВВН-1,5, ВВН-3, ВВН-6 (цифра, стоящая за буквами ВВН, характеризует производительность насоса, м3/мин).
Жидкостный насос предназначен для перекачки пропитывающих жидкостей из одного резервуара в другой, а иногда для создания жидкостного давления. Наиболее употребительны центробежные насосы типа X, обеспечивающие производительность 1,5...600 м3/ч и давление 0,12...1,5 МПа (напор-12...150 м вод. ст.). Марку насоса выбирают в зависимости от требуемой производительности и давления, а параметры выбранного насоса устанавливают по его индивидуальной характеристике. В качестве примера на рис. 3 дана характеристика насоса 8Х-12-1.
Компрессор обеспечивает получение сжатого воздуха:
- для создания в пропиточном и маневровом автоклавах воздушного
давления при пропитке способом ДДВ,
- для перемещения жидкости из пропиточного автоклава в маневровый после выдержки древесины под избыточным жидкостным давлением,
- для достижения и поддержания жидкостного давления в пропиточном автоклаве и мернике,
- для перемешивания жидкости в процессах приготовления растворов и их нагревания.
![]() |
Рис. 3. Характеристика насоса 8Х-12-1 при частоте вращения 1450 мин-1: Н— напор, м; V— производительность, м3/ч; n — коэффициент полезного действия; N—потребляемая мощность, кВт; D—диаметр рабочего колеса, мм |
На крупных пропиточных заводах используют компрессоры ВК-200, ВВК-240, 2Р-10/20. Их рабочее давление 0,8... 1,2 МПа, а производительность 5... 20 м3/мин. На установках небольшой производственной мощности применяют компрессоры ВК-25-3, ВУ-3/8, ВУ-6/8 производительностью 2,5... 1,35 м3/мин.
Аккумуляторы — цилиндрические вертикальные резервуары, содержащие запас сжатого воздуха давлением 1,2... 1,6 МПа. Использование аккумуляторов позволяет сократить сроки создания воздушного давления в пропиточных автоклавах, надежнее поддерживать заданное давление и обеспечивать равномерную работу компрессора. Компрессор может работать на питание аккумулятора независимо от автоклава, поэтому его мощность снижается, а коэффициент полезного использования повышается.
Аккумуляторы и компрессоры обычно монтируют в отдельном помещении — компрессорной. Вместимость аккумуляторов 10...25 м2 для крупных и 2.. .6 м3 для небольших пропиточных установок.
Тепловое оборудование. К тепловому оборудованию пропиточных установок относятся теплообменные аппараты (конденсаторы, калориферы и др.), конденсатоотводчики, парораспределительные системы.
Конденсатор — теплообменный аппарат, служащий для конденсации удаляемых из автоклава паров воды или пропитывающей жидкости. Его устанавливают на трубопроводной линии между автоклавом и вакуум-насосом. В пропиточных установках применяют поверхностные конденсаторы (рис. 6.17), в которых охлаждение и конденсация паров происходят внутри металлических трубок, охлаждаемых с поверхности водой. Конденсатор имеет патрубки для ввода охлаждающей воды и ее отвода, ввода паров и вывода конденсата, стекающего затем в специальный сборник.
Другие детали теплового оборудования по устройству и принципам работы аналогичны деталям сушильных установок и были рассмотрены ранее в дисциплине «Тепловая обработка и сушка древесины».
Контрольно-регулирующее и вспомогательное оборудование. В пропиточных установках используют приборы и устройства для измерения давления, глубины вакуума, температуры, уровня жидкости в резервуарах. Параметры режима пропитки регулируют посредством вентилей и задвижек на трубопроводах. Современные пропиточные установки снабжены автоматическими регуляторами температуры и давления. Принципы их контроля и автоматического регулирования практически не отличаются от устройств тепловой обработки и сушки древесины.
![]() |
Рис. 4. Схема горизонтального поверхностного конденсатора: 1 — корпус; 2 — трубка; 3 — направляющая перегородка; 4 — патрубки |
К вспомогательному оборудованию пропиточных установок относятся транспортные механизмы, весы, дозаторы, дробилки для измельчения твердых пропитывающих веществ, отстойники или сепараторы для очистки жидкостей и некоторые другие устройства.
Схемы монтажа пропиточных установок. Монтаж оборудования пропиточной установки должен обеспечивать возможность проведения в автоклаве технологических операций в соответствии с принятым способом пропитки. Имеется много схем монтажа. Для примера рассмотрим схемы установок, предназначенных для пропитки древесины способами ВДВ, ДДВ, ВАДВ и совмещенной сушки — пропитки.
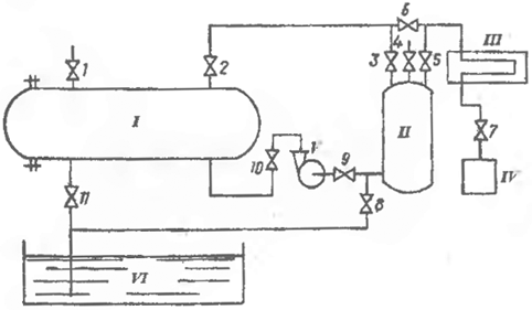
Принципиальная схема установки для пропитки способом ВДВ приведена на рис. 6.18. Установка работает следующим образом. В автоклаве, загруженном древесиной, создают вакуум. Для этого включают вакуум-насос при открытых вентилях 2, 6 и 7 (остальные вентили закрыты). После выдержки древесины в вакууме, не сбрасывая его, заполняют автоклав жидкостью, для чего открывают вентили 11, 2, 3 и 5, а остальные закрывают. Жидкость при этом нагнетается из маневрового резервуара VI в автоклав под действием атмосферного давления. Затем в автоклаве создают и поддерживают избыточное давление жидкости. Для этого включают жидкостный насос, при открытых вентилях 4, 9 и 10. Жидкость, расходуемая на пропитку, поступает при этом в автоклав из мерника, что позволяет контролировать ее поглощение древесиной.
После окончания выдержки под давлением жидкость самотеком сливается из автоклава в маневровый резервуар, для чего открывают вентили 1 и 11. Повторный (конечный) вакуум создают так же, как и первый (начальный). Мерник заполняют жидкостью во время загрузки автоклава древесиной при включенном вакуум-насосе и открытых вентилях 8,5 и 7.
![]() |
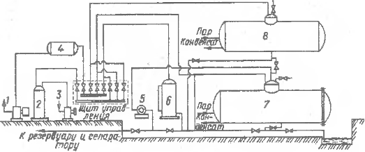
Рис. 5. Схема установки для пропитки древесины способом ДДВ: 1 -вакуумный насос, 2 - ресивер, 3 - компрессор, 4 - конденсатор, 5 - насос, 6 - мерник, 7 - пропиточный автоклав, 8 - маневровый автоклав |
Автоклавная установка для пропитки способом ДДВ, схема которой приведена на рис. 6., состоит из рабочего (пропиточного) автоклава 7, над которым расположен маневровый автоклав 8, рассчитанный на работу под избыточным давлением, жидкостного насоса 5, служащего для создания избыточного давления в рабочем автоклаве, мерника 6, компрессора 3 с ресивером 2 и вакуумной линии, включающей в себя вакуум-насос 1 и конденсатор 4.
Автоклав загружают древесиной и создают в нем избыточное воздушное давление с помощью компрессора. После выдержки под воздушным давлением пропитывающую жидкость из маневрового автоклава нагнетают сжатым воздухом в рабочий автоклав и мерник; затем, после их заполнения, включают насос 5 и создают в автоклаве требуемое избыточное давление. Поскольку жидкость, идущая на пропитку, поступает из мерника, по изменению уровня жидкости в нем судят о величине поглощения. После выдержки под жидкостным давлением жидкость перекачивают обратно в маневровый автоклав, а в рабочем автоклаве создают вакуум. По окончании процесса пропитки древесину выгружают из автоклава, а пропитывающую жидкость, вытесненную из древесины при выдержке в вакууме, подают на сепарацию и очистку. Следует отметить, что рассматриваемая установка может быть также использована для пропитки способами ДВ и ВДВ.
На рис. 7 приведена схема передвижной установки для пропитки древесины способом ВАДВ. Установка предложена МЛТИ и изготовлена трестом «Союзантисептик».
![]() |
Рbс. 6. Схема установки для пропитки древесины способом ВДВ. I — пропиточный автоклав; II— мерник; III — конденсатор; IV — вакуум-насос; V—жидкостной насос; VI — маневровый резервуар; 1... 11 — вентили |
![]() |
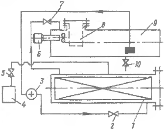
Рис. 7. Схема установки для пропитки древесины способом ВАДВ: 1 -пропиточный автоклав, 2,5, 7,10 - вентили, 3 -реверсивный центробежный насос, 4 -вакуумвый насос, 6 - мешалка, 8 - контейнер для загрузки сухого химического средства, 9 - маневровый автоклав |
Пропиточный автоклав 1 облегченного типа рассчитан на работу только под вакуумом. Маневровый автоклав 9, работающий при атмосферном давлении, установлен на одном уровне с пропиточным автоклавом. Он служит как для межоперационного хранения и нагревания, так и для приготовления пропитывающего раствора. В нем имеется устройство 8 для загрузки сухих компонентов и механическая мешалка 6. Заполнение пропиточного автоклава жидкостью и ее слив осуществляют реверсивным центробежным насосом 3. Для создания разрежения предусмотрен вакуум-насос 4, который включают после загрузки автоклава древесиной при открытом вентиле 5.
По окончании выдержки в вакууме открывают вентиль 2, включают насос 3 и, не снижая глубины вакуума, заполняют пропиточный автоклав жидкостью; затем отключают вакуум-насос, закрывают вентиль 5 и открывают вентиль 7. При этом в автоклаве устанавливается атмосферное давление и начинается пропитка, в процессе которой насос обеспечивает непрерывную циркуляцию жидкости между маневровым и пропиточным автоклавами. Тем же насосом (прн его реверсировании) осуществляется освобождение пропиточного автоклава от жидкости после окончания пропитки. Для слива пропитывающей жидкости из маневрового автоклава предусмотрен патрубок с вентилем 10.
На рис. 8 дана схема установки для совмещенной сушки — пропитки. Она состоит из пропиточного автоклава 1, маневрового автоклава 9, циркуляционного насоса 2, конденсатора 11, сборника конденсата 13, мерника 3 и выносного пеногасителя 7, соединенных между собой трубопроводами. Маневровый автоклав оборудован гладкотрубными калориферами 8. В качестве пеногасителя используют теплообменник, сходный по конструкции с конденсатором, но питаемый не охлаждающей водой, а греющим паром. В комплект установки входит также вакуум-насос и воздушный компрессор, не показанные на схеме.
![]() |
Рис. 8. Схема установки для совмещенной сушки-пропитки: 1 - пропиточный автоклав, 2 - циркуляционный насос, 3 - мерник, 4, 5,6,10,12 - трубопроводы, 7 -пеногаситель, 8 - теплообменник, 9 - маневровый автоклав, 11 - конденсатор, 13 - сборник конденсата |
Предпропиточная сушка происходит при атмосферном давлении и осуществляется следующим образом. Загруженный древесиной рабочий автоклав 1 заполняют по трубе 14 маслом из маневрового автоклава, где его предварительно подогревают до требуемой (130 °С) температуры. Затем включают насос, который создает в рабочем и маневровом автоклавах замкнутую продольную циркуляцию масла. Охлажденное при прохождении через высушиваемый материал масло подается насосом по трубе 6 в маневровый автоклав, где вновь нагревается, а затем самотеком поступает в рабочий автоклав.
Пары воды н масла, а также образующаяся при сушке пена из рабочего автоклава по трубе 5 поступают в пеногаситель 7 и из него в маневровый автоклав. Пена в пеногасителе разрушается, а пары по трубопроводу 10 поступают в конденсатор, откуда конденсат воды и масла направляется по трубе 12 в сборник 13. По мере заполнения сборника конденсат подают в специальные отстойники, где происходит разделение воды и масла. Воду направляют в очистные сооружения, а масло перекачивают в хранилище. После окончания сушки древесину пропитывают по одному из классических способов, используя для этого компрессор и вакуум-насос. Перед созданием вакуума масло перекачивают насосом 2 из рабочего автоклава в маневровый. При создании давления масло нагнетается в автоклав из мерника 3 по трубе 4.







