Фундаментные опоры на дачный участок
Фундамент — это основа основ любого строения. Хотя дачные постройки не являются очень уж тяжеловесными конструкциями и не оказывают существенного давления на грунт, все же собирать их прямо на земле не рекомендуется. В большинстве случаев под строениями делают легкий точечный фундамент. По углам будущего сооружения в земле устанавливают точки опоры, представляющие собой короткие бетонные сваи или выложенные из кирпича столбцы, уходящие в землю на 0,5—1 м. Это могут быть и вкопанные вертикально асбестоцементные трубы или даже предварительно гидроизолированные деревянные опоры.
С деревом, к сожалению, не все так просто. Вы можете сделать обматывание в подземной части деревянные столбы толем или рубероидом, так рекомендуют некоторые строители, но пользы это не принесёт. Влага свободно проникнте через стыки обмотки, сколько бы не было слоёв, и деревянные столбы все равно намокнут. Старый способ смолить комель бревна более эффктивен, но при этом необхдимо соблюдать определенную технологию.
Ранее в 1889 г. в журнале «Сельское хозяйство и домоводство» была напечатана такая рекомендация: «Наиболее общеупотребительное средство предохранения подземной или подводной части столбов и кольев от гниения состоит, как известно, в обугливании или смазывании смолой соответствующей части столба. Но применение одного из этих способов без содействия другого не дает хороших результатов...».
![]() |
Установка деревянной опоры: а — с битумной гидроизоляцией непосредственно в землю; 6 — с помощью анкера к бетонному основанию: I — деревянный столб; 2 — уровень грунта; 3 — гидроизоляция; 4 — бетонный столбчатый фундамент или цоколь; 5 — анкер; 6 — шурупы |
Это хороший метод, проверен годами. Однако, вместо смолы применявшую ранее, сейчас успешно используют смесь расплавленного битума с топливом дизельным соляркой. Такая смесь гораздо надёжнее. При использовании тугоплавкого битума необходимо больше солярки, для менее тугоплавкого — меньше. Смесь битума и солярки применяют в горячем виде, поэтому температура обугленной части деревянных столбов не имеет значения. Смесь битума с бензином или керосином делают и используют в холодном виде, но в любом случае угольный слой будет пропитан насквозь. При этом не стоит забывать о том, что обуглена и осмолена должна быть и та часть столба, которая возвышается над поверхностью земли на 25—30 см.
Кроме того, совершенно не лишним будет снять под беседкой верхний слой грунта толщиной 15—20 см и вместо него сделать подсыпку из гравия и песка. Таким образом будет создана своеобразная дренажная подушка, отводящая воду от опор.
Факторы, определяющие тип конструкции фундамента
Фундамент служит для равномерного распределения давления массы строения на грунт. Конструкция любого фундамента зависит от массы здания, глубины промерзания земли и типа грунта, на котором его возводят, и кроме того от уровня залегания грунтовых вод. Качество грунта определяют на основе инженерно-геологических изысканий, которые проводят перед началом строительства. Важными для возведения фундамента являются несущие способности грунтов. С этой точки зрения различают грунты хорошие (скалистые, крупнообломочные, крупный сухой песок), посредственные (влажная глина, песок мелких фракций) и плохие (лессовидные, ил, насыпной грунт).
Скалистые грунты надежны и прочны. Они не подвержены вспучиванию, проседанию и размыванию. Крупнообломочные грунты, содержащие обломки кристаллических или осадочных пород (прожилки гравия или камней), слабо сжимаются и не размываются. Песчаные грунты в зависимости от величины частиц делятся на крупные, средние, мелкие и пылеватые. Они проседают и уплотняются. Мелкие и пылеватые пески с глинистыми примесями, напитываясь водой, становятся текучими, что еще больше снижает их несущую способность (их еще называют плывунами).
Грунты из глины (лессы, лессовидные) подвержены сжатию, вспучиванию и размыванию. Они имеют поры — ячейки в виде вертикальных трубочек. Увлажняясь, такие грунты уплотняются и образуют просадки, поэтому их называют просадочными. Супеси и суглинки — нечто среднее между песчаными и глинистыми грунтами. Их различают по содержанию глины: супеси содержат до 10 % глины, суглинки — от 10 до 30 %.
Насыпные грунты образуются в результате засыпки оврагов, прудов, свалок и т. п. пустыми породами, шлаками, мусором (содержащим органические примеси и отходы производства) с неоднородной структурой и степенью сжимаемости. Такие насыпи в зависимости от внешних условий самоуплотняются через 5—7 лет.
Еще одним чрезвычайно важным показателем является глубина промерзания грунта. Эта величина напрямую зависит от географического положения местности. Промерзание является главной причиной неустойчивости и деформации фундаментов: при определенной влажности некоторые виды грунтов начинают вспучиваться. Фундаменты, заложенные в таких грунтах выше глубины промерзания, попросту выдавливаются из них, если силы морозного пучения не уравновешиваются нагрузкой (массой здания или иной конструкции). Эти силы весьма значительны и могут достигать 1 т/м2. Но и это еще не все. Опасность для строения заключается также и в том, что грунт деформируется неравномерно, что приводит к перекосу фундамента, образованию трещин в стенах и в конечном итоге к разрушению всего здания.
Наконец, на выбор конструкции фундамента влияют и грунтовые воды, точнее, уровень их залегания. Этот уровень можно определить с помощью инженерно-геологических и гидрогеологических изысканий. Наилучшим для заложения фундамента является залегание грунтовых вод ниже глубины промерзания. Хуже всего, когда грунтовые воды находятся намного выше этой отметки. Именно тогда в результате вспучивания грунта под подошвой фундамента образуются силы, выталкивающие его наверх. Чтобы нейтрализовать их, нужно не только заложить подошву фундамента ниже глубины промерзания грунта, но и компенсировать воздействие касательных (боковых) сил пучения. Сделать это можно, соорудив фундамент из армированного бетона с основанием в виде широкой площадки и сужающимися кверху (наклонными) стенами.
Виды конструкции фундаментов
По виду конструкции фундаменты бывают плитные, ленточные, столбчатые и свайные (рис. 1), а в зависимости от применяемых материалов — бутовые, бетонные, буто-и железобетонные. Фундамент любой конструкции должен возвышаться над землей не менее чем на 30 см. Эта его часть и верх подземной части могут быть выполнены из камня, кирпича или бетонных блоков. На выступающую над землей верхнюю часть фундамента укладывают плиты перекрытия, которые будут служить основанием пола первого этажа.
![]() |
Рис. 1. Виды конструкции фундаментов: а — плитный (сплошной); б — ленточный; в — столбчатый; г — свайный |
Плитные (сплошные) фундаменты (рис. 1, я) сооружают на тяжелых и просадочных грунтах, находящихся в поймах рек, на затапливаемых и заболоченных территориях с высоким залеганием грунтовых вод. Они представляют собой жесткую конструкцию — монолитную плиту из железобетона по всей несущей плоскости, выдерживающую вертикальные и горизонтальные перемещения грунта. Плиту укладывают на песчано-щебеночную засыпку. Такие фундаменты еще называют плавающими. Они хорошо зарекомендовали себя в малоэтажном строительстве, но требуют значительных затрат, так как на их изготовление идет много бетона и металла.
Ленточные фундаменты (рис. 1, б) устраивают под зданиями с кирпичными, каменными, бетонными и деревянными стенами, а также в тех случаях, когда под домом планируют оборудовать подвал. Если ленточный фундамент укладывают в пучинистых и глубокопромерзающих грунтах, то его подошва должна находиться как минимум на 20 см ниже глубины их промерзания. Такие фундаменты технологически несложны и экономически целесообразны, не требуют больших трудозатрат и чаще всего применяются в простых геологических условиях. По технологии производства ленточные фундаменты бывают монолитные и сборные. Первые выполняют из бута, железо- и бутобетона, вторые — из готовых бетонных блоков.
Для создания монолитного ленточного фундамента (рис. 2) сначала нужно выкопать траншею и по ее дну выполнить подготовку из тощего бетона. Ширину траншеи, отличную от ширины фундамента, определяют с помощью расчетов, учитывающих тип и состояние грунтов, нагрузку на фундамент, зависящую от веса здания и других факторов, сведения о которых получает проектировщик из инженерно-геологических изысканий.
![]() |
![]() |
Рис. 2. Монолитный ленточный фундамент: стена здания; 2 — гидроизоляция; 3 — стена фундамента; 4 — подушка фундамента |
Рис. 3. Сборный ленточный фундамент стена здания; 2 — гидроизоляция; 3 — блоки сборного фундамента; 4 — подушка фундамента |
Траншею или котлован для устройства монолитной фундаментной подушки подготавливают на всю ширину, затем выставляют опалубку, армируют согласно принятым в проекте решениям и заливают бетоном марки, также указанной в проекте.
Укладывая фундамент из бута, используют рваные камни (неправильной формы), пустоты и швы между которыми заполняют раствором. Кладка должна быть с перевязкой швов и иметь ширину не менее 60 см. Создание такого фундамента — процесс трудоемкий, но зато в этом случае расходуется мало раствора.
При изготовлении бутобетонного фундамента применяют мелкий камень и щебень. На дно траншеи укладывают слой (толщиной 5—10 см) самых крупных камней или фракций щебня, утрамбовывают и проливают раствором. Эту операцию повторяют, пока фундамент не наберет полный объем. При этом бетон необходимо постоянно уплотнять (например, виброрейкой), чтобы при заливке он распределялся равномерно, не оставляя пустот.
После того как бетонная смесь начнет твердеть, открытую часть фундамента необходимо укрыть мешковиной или матами из соломы и в течение 2—3 недель регулярно смачивать водой, чтобы в процессе схватывания бетон не пересыхал. Летом в первые несколько дней такие процедуры проводят через каждые 4 ч, а затем — 2—3 раза в день. В зимний период фундамент во время твердения следует предохранять от воздействия отрицательных температур. Устройство такого фундамента менее трудоемко, чем бутового, но на него расходуется много бетона.
Сборные ленточные фундаменты
Сборные ленточные фундаменты (рис. 3) применяют, чтобы ускорить монтаж фундамента, они требуют меньших трудозатрат и выполняются быстрее. Для их создания используют готовые фундаментные блоки стен (ФБС) и блоки фундаментных подушек. Стандартная длина ФБС — 90, 120 и 240 см, ширина — 30, 40, 50 и 60 см, высота — 60 и 30 см.
Фундаментные блоки укладывают на слой песка (толщиной до 10 см), выровненный до проектной отметки. Монтаж блоков фундамента на основания, покрытые водой или снегом, не допускается. Сборный фундамент неглубокого заложения создают, укладывая готовые бетонные блоки с помощью крана в траншею на подготовленное основание. Их кладут друг на друга на раствор с перевязкой вертикальных швов, глубина которой должна быть не менее 0,4 высоты блока при малосжимаемых грунтах и не менее 1 высоты блока при сильносжимаемых, просадочных и набухающих. Это же правило укладки блоков с перевязкой сохраняется и для мест примыкания наружных и внутренних стен.
Блоки наружных стен фундамента, устанавливаемые ниже уровня грунта, необходимо выравнивать по внутренней стороне, а расположенные выше его уровня — по внешней. Возводя сборные фундаменты на сильносжимаемых грунтах или с неравномерным напластованием слоев грунта, поверх последнего ряда сборных блоков по всему периметру стен устраивают пояс, который армируют сварными или вязаными каркасами из стержней расчетного сечения.
Устройство сборных ленточных фундаментов требует меньше времени, но невозможно без использования дорогостоящей грузоподъемной техники.
Установка столбчатого фундамента (рис. 2, в) обойдется в два раза дешевле ленточного. Такие фундаменты применяют для возведения легких зданий на пучинистых грунтах с глубоким промерзанием или когда слой грунта, служащий основанием, залегает на глубине 3—5 м. Столбы делают из камня, пережженного кирпича (железняка), бетона, железо-бетона, дерева и асбестоцементных труб, заполненных бетоном. Сечение бутовых столбов может достигать 60x60 см, кирпичных — 50 х 50 см (два кирпича). Иногда веранды, террасы, бани и даже легкие дома устанавливают на столбы из дерева, так называемые «стулья», которые перед заглублением в землю обжигают, а затем пропитывают битумной смолой. Столбчатые фундаменты необходимо закладывать на 20 см ниже уровня промерзания грунта. Столбы располагают с шагом 1,5—2,5 м, но обязательно устанавливают их в углах дома, в местах пересечения наружных и внутренних несущих стен, под стойками каркаса в деревянных каркасных домах и в других местах, где сосредоточена нагрузка.
Чтобы опереть стену на столбы, на них устраивают (отливают из бетона или укладывают стандартные) перемычки или фундаментные балки высотой не менее М ее пролета. Перемычки могут быть также кирпичными с армированным швом под нижним рядом кирпича. Иногда в обычных грунтах с нормальной несущей способностью укладывают столбчатые фундаменты в виде буровых свай. Для этого бурят скважину и вставляют в нее вертикально асбестоцементную трубу, вокруг которой тщательно утрамбовывают землю. Залив в трубу бетон на Уз высоты, ее немного приподнимают — часть бетона выливается в скважину, образуя расширенное основание сваи, своеобразную подошву. Пока бетон не схватился, трубу устанавливают на нужную высоту, укрепляют металлической арматурой и заливают все бетоном. Для соединения с другими элементами конструкции арматуру устанавливают так, чтобы после заливки ее концы выступали над поверхностью бетона на 15—20 см. Через несколько дней, когда бетон наберет определенную прочность (окончательное схватывание бетонной смеси происходит через 4 недели после заливки), на такой фундамент можно устанавливать балку нижней обвязки каркаса.
Свайные фундаменты (рис. 1, г) применяют при возведении многоэтажных домов в сложных геологических условиях: на насыпных грунтах небольшой плотности, грунтах с малой несущей способностью и высоким уровнем грунтовых вод. Сваи проводят через плохой грунт до грунта с нормальной несущей способностью, после чего на них укладывают ростверк (плиты или ленты) для равномерного распределения нагрузки здания.
![]() |
![]() |
Рис. 4. Неправильное заложение фундамента и воздействие на него выталкивающих сил грунта в летний (а) и зимний (б) период: УГВ — уровень грунтовых вод; УПГ — уровень промерзания грунта; А — давление фундамента на грунт; Б — сопротивление грунта; В — силы вспучивания грунта; Г — касательные силы вспучивания грунта; h — высота подъема фундамента |
Рис. 5. Правильное заложение фундамента: УГВ — уровень грунтовых вод; УПГ — уровень промерзания грунта; А — давление фундамента на грунт; Б — сопротивление грунта; Г — касательные силы вспучивания грунта |
Основная ошибка, которая может возникнуть при устройстве фундаментов, — заложение их выше уровня промерзания грунта (рис. 4). В летний период (рис. 4, а) действие сил А и Б уравновешивается, и поскольку грунт не промерзает — фундамент не поднимается. В зимний период (рис. 4, б), когда почва промерзает, на подошву фундамента начинают действовать выталкивающие силы вспучивания грунта В и касательные (боковые) силы Г. Их суммарное воздействие поднимает фундамент на высоту h.
Правильное заложение фундамента — ниже уровня промерзания грунта (рис. 5). В зимний период силы вспучивания грунта не действуют на подошву фундамента. Действие касательных сил компенсируется специальными способами и средствами.
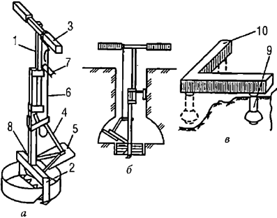
В начале 1990-х годов в России изобретателем Р. Н. Яковлевым была разработана специальная народная, то есть доступная большинству, технология строительства — «Технология индивидуального строительства и экология» (ТИСЭ). Она предполагает возведение дома самостоятельно, без применения наемной рабочей силы. Автор разработал идею изготовления столбчатого фундамента повышенной прочности (рис. 6 с помощью ручного фундаментного бура оригинальной конструкции, посредством которого можно получить опорную скважину с расширенной полостью на дне. Скважину заполняют арматурой и бетоном.
На бурение и бетонирование одной опоры требуется около 1,5 ч. Фундаментный столб, выполненный по этой технологии, не поднимается силами пучения мерзлого грунта благодаря нижнему расширению столба. Однако если в этот же сезон не предполагается загрузить фундамент домом (или другой постройкой, например тяжелой беседкой), то такой столб должен иметь надежное армирование (4 прута диаметром 10—12 мм), исключающее отрыв расширенной части столба от цилиндрической.
![]() |
Рис. 6. Фундамент по технологии ТИСЭ: а — бур ТИСЭ-Ф; б — бурение скважины; в — ленточно-столбчатый фундамент: 1 — раздвижная штанга; 2 — накопитель грунта; 3 — рукоятка; 4 — упор двухзвенный; 5 — плуг; 6 — шнур; 7 — стопор резьбовой; 8 — ось навески плуга; 9 — опора; 10 — ростверк |
После установки всех опор приступают к выполнению ленты-ростверка, отливаемого из железобетона в обычной дощатой опалубке. По расположению относительно уровня земли различают три вида ростверков: высокий, повышенный и низкий. Самый распространенный и удобный в строительстве — высокий ростверк, находящийся выше уровня земли как минимум на 10—15 см. Низкий ростверк находится ниже уровня земли. Подошва повышенного ростверка находится на уровне земли. Для того чтобы пучинистые силы не действовали на ростверки последних двух видов, из-под них приходится вынимать слой грунта толщиной 10—15 см.
Несущая способность опор определяется в зависимости от величины расчетного сопротивления грунта. В табл. 1 приведены показатели несущей способности одного фундаментного столба, отлитого по технологии ТИСЭ. Несущая способность определена исходя из прочности влажного грунта на глубине около 1,5 м и диаметра опорной подошвы столба. У поверхно-сти несущая способность будет почти в 1,5 раза ниже.
Шаг фундаментных столбов при возведении каменных стен по технологии ТИСЭ не следует делать больше 2—3 м. Это позволяет обойтись небольшим поперечным сечением ленты-ростверка. Столбы по внешнему периметру фундамента располагают, как правило, по его углам и на пересечении с внутренними стенами дома. Но это необязательно. Распределяя опоры по периметру фундамента, следует учитывать, что под внутренней несущей стеной, загруженной балками (плитами) перекрытий с двух сторон, шаг столбов следует уменьшить на 10—15 % по сравнению с шагом опор под внешними стенами.
Таблица 1 Несущая способность одной опоры по технологии ТИСЭ
Тип грунта |
Расчетное сопротивление грунта, |
Несущая способность опоры, т, при диаметре подошвы опоры, см |
|||
25 |
40 |
50 |
60 |
||
Галька с глиной |
4,5 |
2,2 |
5,6 |
8,8 |
13,2 |
Гравий с глиной |
4,0 |
2,0 |
5,0 |
8,0 |
11,7 |
Песок крупный |
6,0 |
2,9 |
7,5 |
11,6 |
18 |
Песок средний |
5,0 |
2,5 |
6,3 |
10 |
14,7 |
Песок мелкий |
4,0 |
2,0 |
5,0 |
8,0 |
11,3 |
Песок пылеватый |
2,0 |
1,0 |
2,5 |
4,0 |
5,7 |
Супесь |
3,5 |
1,7 |
4,4 |
6,9 |
10 |
Суглинок |
3,5 |
1,7 |
4,4 |
6,9 |
10 |
Глина |
6,0 |
2,9 |
7,5 |
11,8 |
17 |
Просадочный грунт |
1,5 |
0,7 |
1,9 |
2,8 |
4,2 |
Насыпной грунт с уплотнением |
1,5 |
0,7 |
1,9 |
2,8 |
4,2 |
Насыпной грунт без уплотнения |
1,0 |
0,5 |
1,3 |
2,0 |
2,8 |
Преимущества фундамента ТИСЭ — высокая несущая способность, возможность самостоятельного изготовления и то, что его можно оставить на зиму без загрузки сверху.






